Ram songerait toujours à une camionnette à trois rangées
À l’édition 2023 du CES (Consumer Electronics Show) de Las Vegas, Ram a présenté son concept 1500 Revolution BEV, la camionnette électrique qu’elle projetait alors. Une des choses qui avait fait jaser à propos de ce modèle, c’était le fait qu’il profitait d’une configuration à trois rangées.
On se demandait alors s’il s’agissait d’une simple folie des concepteurs ou si la compagnie songeait sérieusement à cette possibilité. La réponse semble se clarifier.

En effet, le site CarBuzz a repéré récemment une demande de brevet qui a été enregistrée par la marque auprès de l’Office américain des brevets et des marques (USPTO = United States Patent and Trademark Office). Elle avait été remise à l’USPTO à la fin de l’année 2023 par Stellantis.
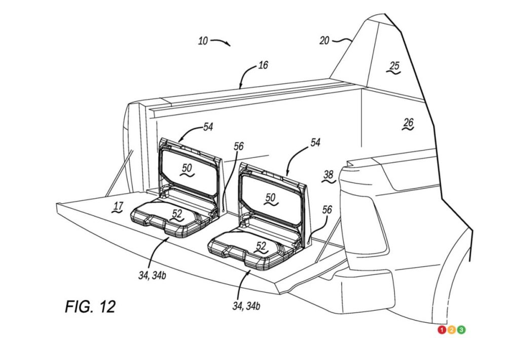
Ladite demande nous montre des sièges qui se fixent à la paroi arrière de la cabine et qui peuvent être repliés lorsqu’ils ne sont pas utilisés. Ils peuvent également être retirés et fixés à toute autre surface plane, comme le hayon, selon ce qui est expliqué dans les documents remis.
Avec le concept, les sièges de type strapontins étaient situés sur un hayon central à déploiement électrique qui, lorsqu’ouvert, faisait le pont entre la caisse, la cabine et le coffre avant, permettant de transporter de très longs objets. En effet, un espace faisant le lien avec le coffre avant était aussi présent, ce qui fait que des objets de 18 pieds pouvaient être placés à bord.
D’ailleurs, une deuxième demande de brevet de Stellantis, remise au même moment, présente cette innovation où le coffre avant est relié à la cabine par une trappe pour le dépôt d’objets plus longs.
Les deux brevets démontrent que Stellantis travaille sur ces caractéristiques. Reste à voir si nous allons les voir s’intégrer au design de la version de production du Ram 1500 REV.



Contenu original de auto123.
